Porsche revoluționează motorul termic cu o echipă de ingineri români. Au inventat motorul în 6 timpi


Porsche revoluționează motorul termic cu o echipă de ingineri români. Au inventat motorul în 6 timpi. Noul ciclu de funcționare îmbunătățește performanța, amprenta de carbon și eficiența.
De la inventarea motoarelor termice de Etienne Lenoir (în 1860 a fost inventat primul motor. Era în 2 timpi și funcționa cu un amestec aer-gaz lampant), Otto și Diesel și până în prezent, toate motoarele pe benzină sau motorină ale autovehiculelor, bărcilor, generatoarelor, motocoaselor, etc. de pe piață sunt în 2 sau 4 timpi. Chiar și motorul rotativ, inventat de Felix Wankel, este clasificat drept unul în 4 timpi, deși nu e chiar așa. Dar, nu intrăm în detalii tehnice complicate.
Important e că acum, la 164 de ani de la primul motor termic și în plină agitație electrică, Porsche revoluționează motorul termic cu o echipă de ingineri români de la Cluj, depunând o cerere de brevet pentru un motor în 6 timpi, informează neozone.org.
Citește și: Transfăgărășanul, drumul făcut de Ceaușescu de frica Rusiei, sărbătorește 50 de ani la puterea Turbo
Porsche revoluționează motorul termic cu o echipă de ingineri români. Au inventat motorul în 6 timpi
Porsche a depus cererea de brevet „Nr. 18/585.308” la Oficiul american pentru brevete și mărci comerciale (USPTO), pentru un motor cu ardere în 6 timpi, care „poate fi împărțit în două secvențe de 3 timpi”.
Conceptul de motor termic în 6 timp a fost dezvoltat de Porsche în parteneriat cu ingineri de la Universitatea Tehnică din Cluj-Napoca, România.
În prima secvență, ar exista admisie, compresie și expansiune. Iar a doua secvență constă într-o a doua compresie, o a doua expansiune și evacuare.
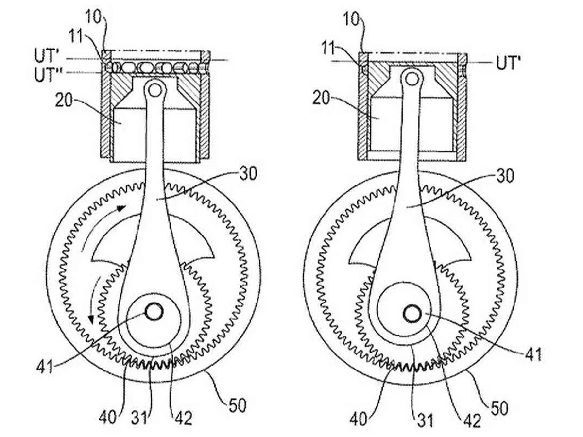
Foto: Schema motorului în 6 timpi Porsche
Concret, noul design de motor Porsche adaugă o altă fază de compresie și expansiune la ciclul tradițional în 4 timpi.
Pentru a realiza acest mod de funcționare, arborele cotit se deplasează în jurul a două angrenaje.
Acest lucru are efectul de a permite două puncte moarte superioare și două puncte moarte inferioare în timpul ciclului.
În plus față de designul unic al arborelui cotit, documentele depuse de Porsche pentru brevet dezvăluie și un aranjament neobișnuit al cilindrilor.
Citește și: BMW a ales România pentru primul centru IT BMW TechWorks din Europa Centrală și de Est. Unde se află
Astfel, pistonul este conectat la ceea ce pare a fi un angrenaj planetar prin intermediul unei biele. Roata planetară însăși rulează într-un inel conectat la arborele cotit. Iar această construcție, mai mult sau mai puțin complexă, permite pistonului să atingă punctele moarte superior și inferior, făcând posibil ciclul în 6 timpi.
De asemenea, proiectarea implică adăugarea de orificii de evacuare și supape în cilindru. Acestea sunt necesare pentru a controla fluxul amestecului aer-combustibil și presiunea gazelor de evacuare.
Pentru un proces de ardere mai bun, motorul include mecanisme de reglare a raportului de compresie și a sincronizării.
Motorul Porsche în 6 timpi ar funcționa și cu hidrogen
Interesant este că motorul revoluționar al Porsche ar putea funcționa nu numai cu combustibili fosili convenționali, ci și cu hidrogen.
În plus, cel mai promițător aspect al acestui proiect este că ar crește eficiența energetică a motoarelor cu combustie, generând mai multă putere decât un motor în 4 timpi și reducând în același timp consumul de combustibil și, implicit, emisiile de CO2.
Deocamdată, trebuie precizat că este vorba doar despre un brevet. Motorul în 6 timpi nu a fost încă construit și testat.
Porsche Engineering are în România două centre importante de cercetare și dezvoltare, unul la Cluj și altul la Timișoara.