iPhone 13 Flip? Apple a patentat un display pliabil care ar putea umili Galaxy Z Flip și Galaxy Fold


Apple nu putea să rămână spectator. După ce Samsung a făcut pasul în lumea smartphone-urilor pliabile cu Galaxy Z Flip și Galaxy Fold, specialiștii ”mărului” s-au apucat și ei să lucreze la un display pliabil.
Numele oficial al primului iPhone pliabil și data lansării acestuia nu se cunosc încă. Dacă despre model se vorbește că se va numi iPhone 12 Flip și, mai nou, iPhone 13 Flip, primul pas în direcția dezvoltării a fost făcut de Apple prin prezentarea unui prototip.
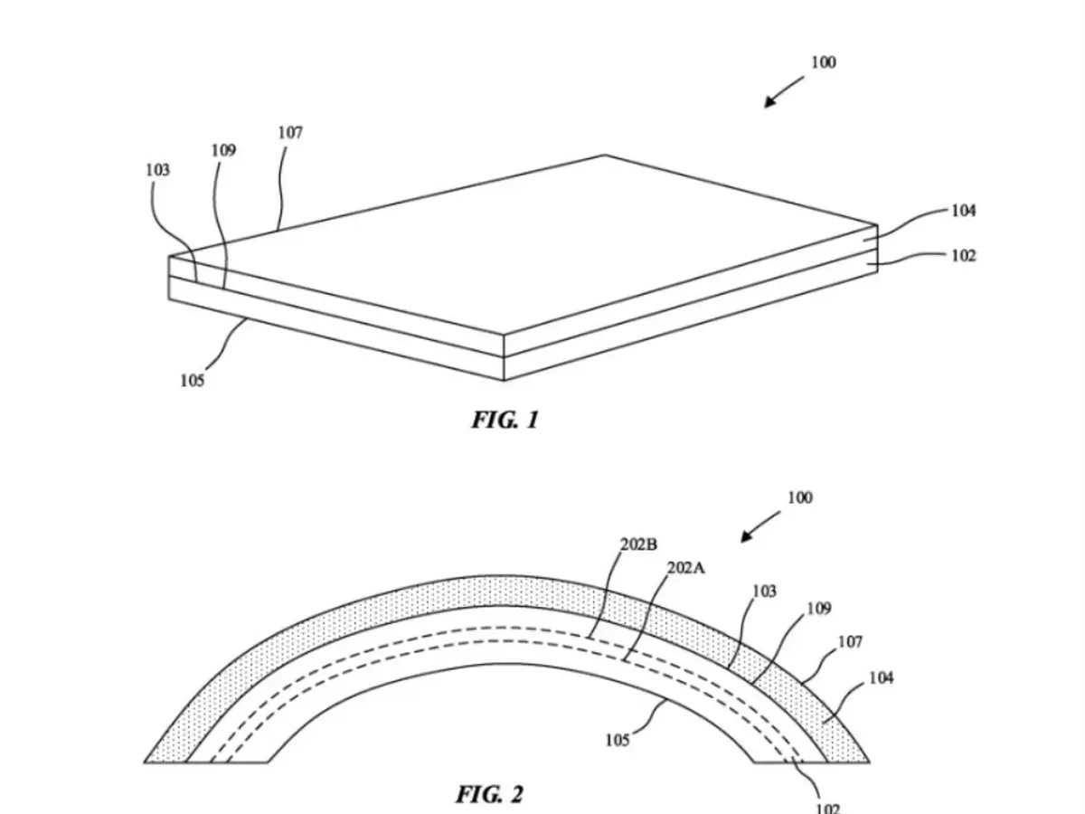
Iar, recent, Apple a înregistrat un patent pentru un nou tip de ecran pliabil. Învățând din problemele de fiabilitate întâmpinate de Samsung cu primele display-uri flexibile, Apple a înregistrat un patent pentru un nou tip de astfel de ecran despre care afirmă că rezolvă apariția micro-fisurilor în sticla din zona balamalei.
Stratul superior al ecranului din schițele patentului este proiectat să ”umple” acele micro-fisuri și să se comporte ca un înveliș protector, rezistent la perforare și zgârieturi. Apple descrie acest strat ca nefiind ”la fel de tare și de dur ca substratul suport transparent” al display-ului și explică că arhitectura ecranului său flexibil este ”contra-intuitivă”. Adică, dacă până acum, în mod tradițional, cel mai dur și mai rezistent strat al unui display era cel superior, în cazul noului ecran patentat lucrurile stau exact invers, rolul protector revenind învelișului special.
Apple deja a început să producă display-uri după noua ”filosofie”, iPhone 12 dispunând de un ecran realizat cu tehnologia ”Ceramic Shield Glass” care este mai dut decât cel al iPhone-ului 11.